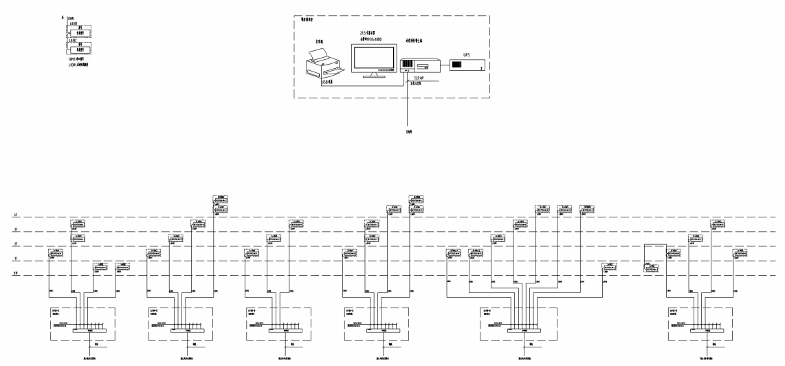
a. 快速配置,即装即用:将电表和通讯管理机配置导入系统就可以使用;
b. 远程集中抄表:免去人工抄表,电表状态实时性可精确到3分钟以内;
c. 支持单独计价、多费率、阶梯电价:可对每块电表单独设置电价、费率和阶梯电价;
d. 远程售电:财务集中管理,电量实时下发,并比对充值次数防止作弊;
e. 数据安全:网络数据传输采用金融级的3DES加密算法,防止数据作弊窃电;
f. 远程控制:可对任意一块电表执行远程拉闸或保电等一系列远程控制操作,方便管理;
g. 能耗分析及查询:用户和管理员都可查询预付费表或各类接入的计量仪表每天的用能状况;
