功能:
自愈式低压并联电容器主要使用在工频系统中,用于提高电力系统的功率因数,改善电力系统的电能质量,提高供电系统的可靠性。
应用范围:
应用于0.4kV、50Hz低压配电系统。
订货范例:
具体型号:ANBSBJ-0.45-20-3
技术要求:共补,圆柱形
通讯协议:无
辅助电源:无
技术参数
1)自愈性:产品具有良好的自愈性能,即在电介质局部击穿后,能自动迅速恢复其绝缘性能。
2)额定电压:三相 450V、480V、525V;分补 250V、280V、300V。
3)容量偏差:不超过额定值的-5~+10%。
4)损耗:在工频额定电压下 20℃时,损耗角正切值不大于 0.0015。
5)过压能力:允许在 1.1Un 下长期运行。
6)过流能力:允许在 1.3In 下长期运行。
7)耐压:极对极施加 2.15Un,2s 不击穿;极对壳施加 AC3kV,10s 不击穿。
8)内置放电电阻:在断电后 3 分钟内可将端子上的电压降低至 75V 以下。
9)内设过压隔离装置:一旦电容器出现故障,内部产生的过压力将使隔离装置动作,从而自动切断电源。
正常工作条件
1)安装海拔:高度≤2000m。
2)安装环境:温度-25℃~+50℃。
3)安装场所:无剧烈机械震动,无有害气体和蒸汽,无导电性和爆炸性尘埃。
4)电容器投入运行时,必须抑制合闸时涌流大小,应采用具有限流装置的电容器专用接触器或在电压过零时投入的无触点开关,也可以在电容器上串联接入限流电抗器,以避免电容器的早期损坏,涌流的大小应限制在 100 倍额定电流以内。
圆柱形-分补
圆柱形-共补
方形-分补
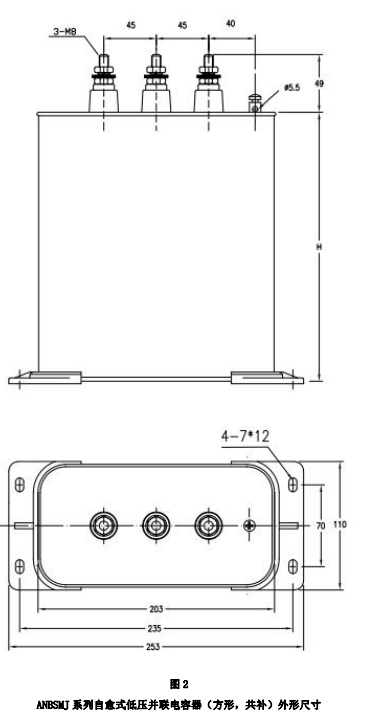
方形-共补
自愈式并联电容器(分补)(圆柱形)
自愈式并联电容器(共补)(圆柱形)
自愈式并联电容器(分补)(方形)
自愈式并联电容器(共补)(方形)
